“Find the exact distance in seconds with this new mileage computer”
The Radix Map Measurer is a pen shaped instrument, held in the hand between finger and thumb and rolled along a line on a map. Various scales are shown on the side on which a measurement is instantly indicated.
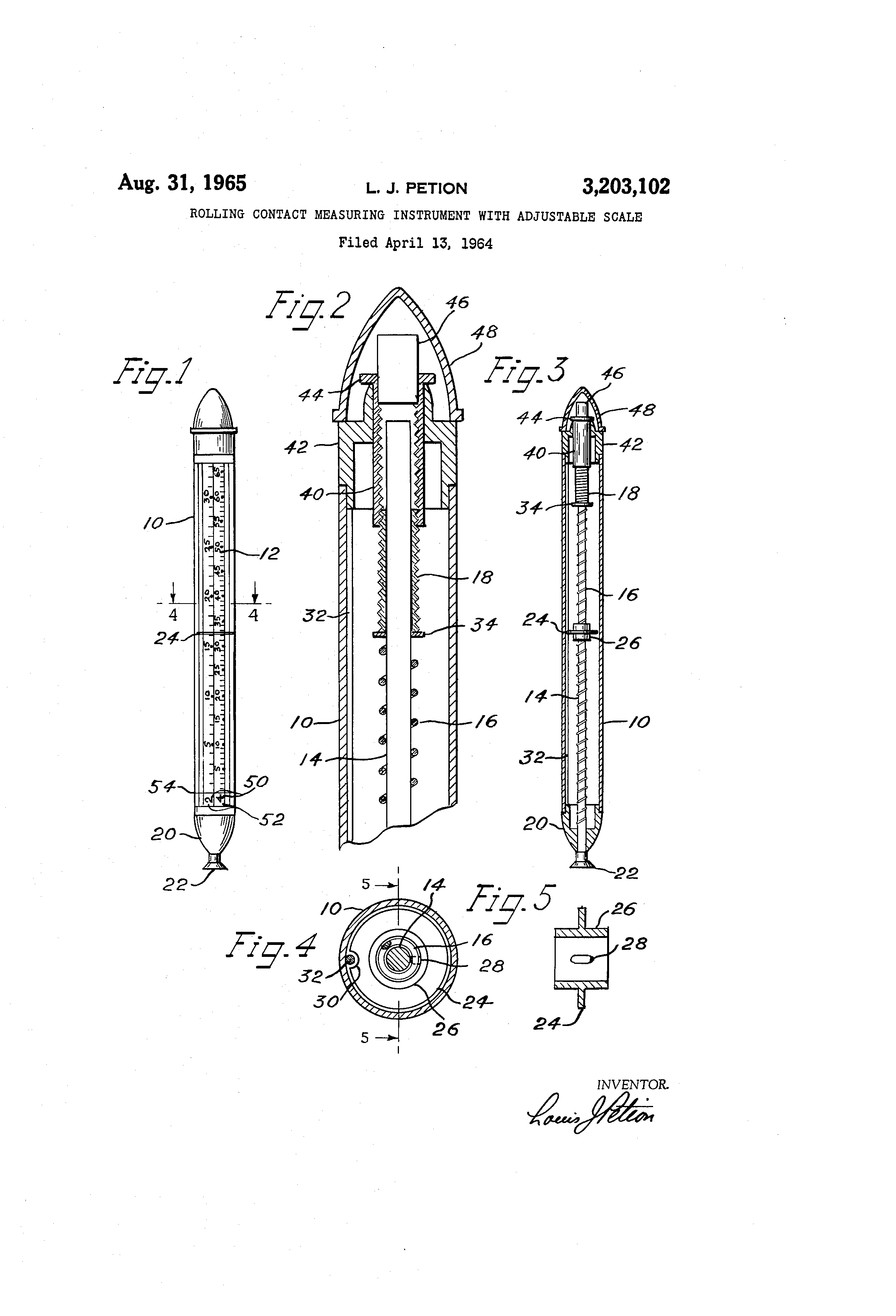
Louis J Petion, of 36 Barstow Road, Great Neck, N.Y., filed his patent application for his ‘rolling contact measuring instrument‘ on 13 April 1964. This was granted 31 August the following year (Patent No. US3203102A), this expired in 1982. His patented invention appeared in volume 817 of the Official Gazette of the United States Patent Office.
As is usual with these patent applications, the description of his design is almost impenetrable:
“A measuring instrument including a tubular housing made of a transluscent material, various scales longitudinally delinated on the surface of said housing, a shaft within the housing, a compression spring extending over the full length of the scales on the housing, loosely mounted on said shaft, an indicator movable along said scales, said indicator having a portion engaged in the space between the spring coils, means for preventing rotational movement of said indicator, a wheel for rolling over the surface to be measured secured to said shaft, and means for adjusting the space between the spring coils.”
Louis Petion was no stranger to the patent process, having previously patented another measuring intrument in 1956, subsequently marketed as the Mile-O-Graph. It can take a few years until a new invention becomes established on the market, if indeed it ever does. Petion’s measuring device was advertised in the Products List Circular in March 1966. This was a means for small businesses to purchase or license the production of new products. It took an average of 3-10 years for commercial development to be realised so despite the market having already been tested with a small production run, it is likely that it wasn’t until the later 1960s/early 1970s that the Radix measure was generally available for purchase. While both measure and box shown here indicate ‘patent pending’, later examples had this changed to the patent number on the Radix itself. Later examples also show that the Radix Manufacturing Company was relocated from Great Neck, New York some 35 miles to Westwood, New Jersey. Packaging later changed to a blister pack on which the Radix Manufacturing Company was listed as a division of Matthew -Padua Inc.
“to provide a novel and improved measuring instrument which is accurate, simple and durable in construction, inexpensive to manufacture, compact in size, neat in appearance, and which can be operated with a minimum amount of instructions”
The name of this instrument changed over the years, it was first called the ‘Radix Map Measurer‘, in an attempt to widen the customer base this was changed to the ‘Radix Map & Chart Measurer‘ and the new name replaced the former on the barrel of the measure. There were three designs of Radix measure produced, one had a scale for nautical miles, another for kilometres and a third design for statute miles, the example shown here. The only part that differed on these was the transluscent scale with black gradations that are visible through the clear plastic barrel. A white disc within the body moves along the scales as the tracking wheel rotates. Due to the simplicity of the Radix, accuracy of measurement on a simple line on a map is very good. Another feature of the measurer is a crayon at the opposite end to the tracking wheel, this is intended for marking a route on a map. It is a short marker, just 3mm x 10mm of which only 6mm of its length can actually be used, and is situated under an easily lost, friction-fit, removable cap.
“marks the route and measures the distance on any map or chart“
The Radix measure is 170mm in length and the barrel, held between finger and thumb in use, has a 13mm diameter. Being almost entirely made from plastic with few metal parts, the Radix weighs just 16g. It’s design is incredibly simple. by keeping the tracking wheel in the same plane as the indicator running the length of the shaft, moving parts are kept to a minimum. This improves accuracy in such a cheaply made instrument and means that there is little to go wrong. Sadly, this also means that it is not so easy to actually use the measure. The little toothed tracking wheel will easily follow a straight line, however if attempting to follow an undulating line, or worse, a path or route on a map that backtracks, it is difficult to bend the wrist when in use, it cannot be simply spun between the finger as with so many other map measurers when a route alters direction. So, while the Radix was intended by Petion to be an improvement on his earlier Mile-O-Graph, ultimately, the Radix is a far poorer instrument.
Three Points of the Compass has looked at a few more Map Measurers in detail. Links to these, including a glance at the Mile-O-Graph, can be found here.














2 replies »